ПРТ
Характеристики изделия:
| Параметр | Значение |
|---|---|
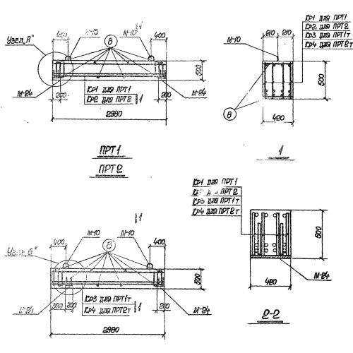
| длина | 2980 мм |
| ширина | 420 мм |
| высота | 500 мм |
| вес | 1570 кг |
| серия | ИС-01-05 |
Цена:
Рассчитать стоимостьПРТ прогон по серии ИС-01-05.
| Параметр | Значение |
|---|---|
| длина | 2980 мм |
| ширина | 420 мм |
| высота | 500 мм |
| вес | 1570 кг |
| серия | ИС-01-05 |
ПРТ прогон по серии ИС-01-05.
