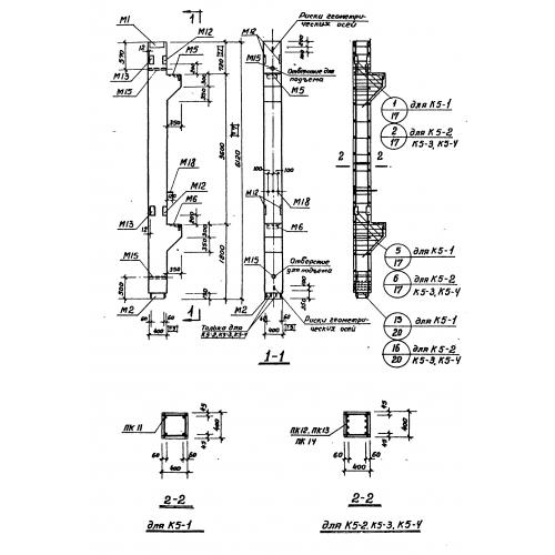
К 5

Чертеж изделия:
Характеристики изделия:
ПараметрЗначение
длина6120 мм
ширина400 мм
высота400 мм
вес2760 мм
серияИИ 22-1

К 5 Колонны по серии ИИ 22-1.