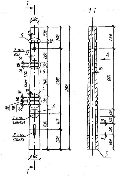
СКЦ 12-102
Характеристики изделия:
| Параметр | Значение |
|---|---|
| Длина L | 12000 мм |
| Диаметр D1 | 460 мм |
| Диаметр D2 | 280 мм |
| Вес | 2300 кг |
| Серия | Б3.507.1-3.04 |
| Норма погрузки на машину (20тн) | 8 шт |
| Вагонная норма погрузки | - |
Цена:
Рассчитать стоимостьСтойка СКЦ 12-102 изготавливается согласно нормам серии Б3.507.1-3.04. Данные стойки предназначены для опор наружного освещения и контактных сетей городского транспорта с кабельной подводкой питания. Стойки СКЦ представляют собой усеченный конус со сквозным каналом внутри.
