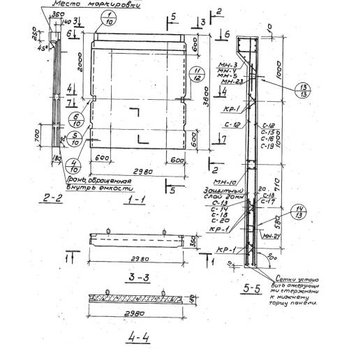
ПС 300-360-35 Панель стеновая балочная

Чертеж изделия:
Характеристики изделия:
ПараметрЗначение
длина2980 мм
ширина3600 мм
высота380 мм
масса4830 кг
нормативный документСерия 3.900.-3

ПС 300-360-35 Панели стеновые балочные для прямоугольных сооружений по Серии 3.900.-3.