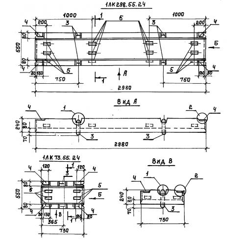
ЛК 298.55.24

Чертеж изделия:
Характеристики изделия:
ПараметрЗначение
длина2980 мм
ширина550 мм
высота240 мм
вес550 кг
серия3.818.9-2

ЛК 298.55.24  Лотки для каналов навозоудаления по серии 3.818.9-2.