70СП-7в

Чертеж изделия:
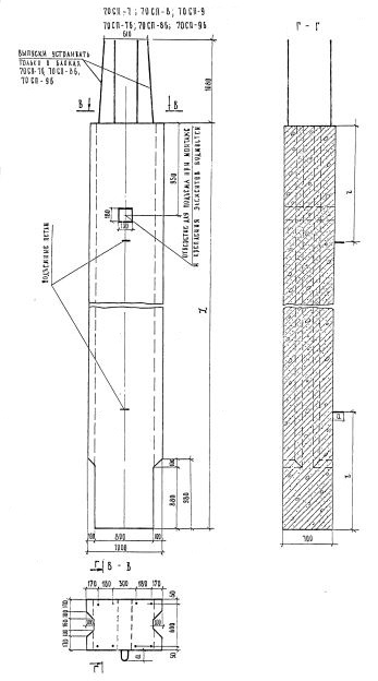
Характеристики изделия:
ПараметрЗначение
длина7960 мм
ширина1000 мм
высота850 мм
масса10900 кг
нормативный документСерия 3.503-23

70СП-7в  Блоки стенок Серия 3.503-23.