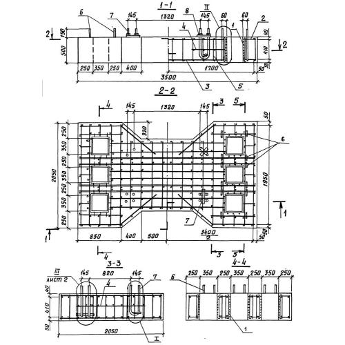
РС 2

Чертеж изделия:
Характеристики изделия:
ПараметрЗначение
длина3500 мм
ширина2050 мм
высота500 мм
вес6900 кг
серия3.501.1-153

РС 2 Ростверки свайные по серии 3.501.1-153.