СН 12-30

Чертеж изделия:
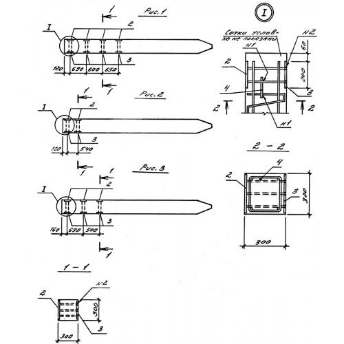
Характеристики изделия:
ПараметрЗначение
длина12000 мм
ширина300 мм
высота300 мм
масса2730 кг
нормативный документСерия 3.016.1-9

СН 12-30  Сваи-колонны с напрягаемой арматурой Серия 3.016.1-9.