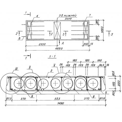
ПК 47.15

Чертеж изделия:
Характеристики изделия:
ПараметрЗначение
длина4660 мм
ширина1490 мм
высота220 мм
вес2205 кг
серия1.141.1-40с

ПК 47.15 Круглопустотные плиты перекрытия высотой 220 мм по серии 1.141.1-40с.