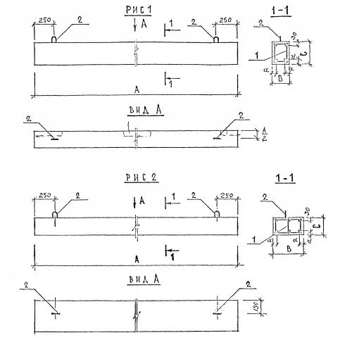
Б 46.38.30

Чертеж изделия:
Характеристики изделия:
ПараметрЗначение
длина4600 мм
ширина380 мм
высота300 мм
вес1313 кг
серия1.126.1 КЛ-1

Б 46.38.30 Балки по серии 1.126.1 КЛ-1.