Б 10

Чертеж изделия:
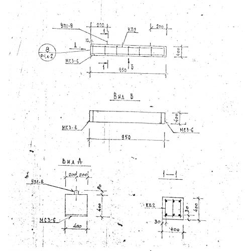
Характеристики изделия:
ПараметрЗначение
длина950 мм
ширина400 мм
высота400 мм
вес380 кг
серия1.125 КЛ-3

Б 10 Балки по серии 1.125 КЛ-3.